Description
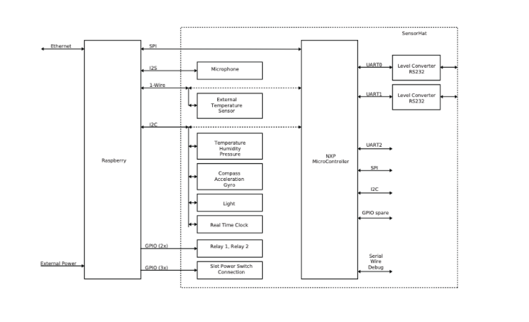
SlotSense™ Sensor board, 10 sensors, 2 relays, 2 serial ports, battery backed up.
For use with G.A.M.E.™ interface and G.A.M.E.™ asset management software suite.
Sensors Included: External Temperature Probe, Temperature, Humidity, Pressure, Compass, Acceleration, Gyro, Light, Realtime Clock.
Can be used for any IoT solution. Software available through GitHub.



